0

NSYAEUBUSC


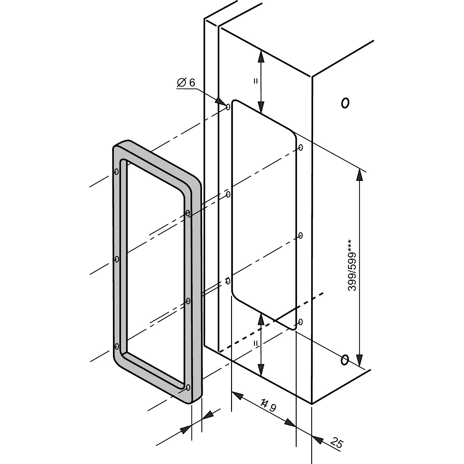
Komplet za združitev omogoča vzporedno namestitev omaric.
Blagovna znamka: Schneider Electric
Podrobnejši opis
Kategorija: Dodatki za sestavo
Material: Plastika
Podkategorija: Dodatki za spenjanje